Street Light Technical Information
Willis Lamm

  STREET LIGHTS:
Patents from 1967 Through 1969

Patents are an effective way to understand the development of street lighting in the United States. In this section I have posted patents as I located them. (Early patents are difficult to locate as they were not cross-indexed.)

All patents are listed in order of their filing dates. Click on the patent number or thumbnail to view the entire patent.


The mid 1960s saw many refinements and innovations. There are so many patents that we only have room for one year per page. There were developments in both clamshell and cobrahead luminaires. Some communities preferred the smaller clamshell profile and there were issues related to weight and heat when ballasts and similar components were included in the cobrahead body. As a result, inventors continued to develop both types of streetlights.

Patent No. 3385258

Filing date: January 16, 1967
Patent date: May 28, 1968
Title: Luminaire Having Level Indicator
Inventor: Paul J. Curtin
Assignee: McGraw-Edison Co.
Claims: Cobrahead with built in leveling sight.

Patent No. 3482087

Filing date: February 20, 1967
Patent date: December 2, 1969
Title: Luminaire
Inventor: Harold P. Kelley, Jr.
Assignee: General Electric Co.
Claims: Modern post mounted mercury vapor luminaire.

Patent No. 3366785

Filing date: February 23, 1967
Patent date: January 30, 1968
Title: Lighting Fixture
Inventor: Charles W. Huber, Jr.
Assignee: Pemco Corp.
Claims: Colonial style post mounted refracted mercury vapor luminaire.

Patent No. 3480772

Filing date: March 9, 1967
Patent date: November 25, 1969
Title: Luminaire
Inventor: Alfred B. Gough
Assignee: General Electric Co.
Claims: Improved cobrahead optics.

Patent No. 3478200

Filing date: April 4, 1967
Patent date: November 11, 1969
Title: Combined Street Light and Identification Sign Structure
Inventor: Clifford Bruce Hewson
Assignee: E. W. Bliss Co.
Claims: Street corner post luminaire with street sign panels.

Patent No. 3483365

Filing date: April 10, 1967
Patent date: December 9, 1969
Title: Luminaire Spiral Ring Coupling Means
Inventor: George N. Starr
Assignee: American Electric Manufacturing Co.
Claims: Sprial coupling ring to attach the refractor to the reflector.

Patent No. 3492473

Filing date: May 4, 1967
Patent date: January 27, 1970
Title: Luminaire Refractor Latch
Inventor: Edward R. Jablonski
Assignee: McGraw-Edison Co.
Claims: Improved latch for mini cobrahead.

Patent No. 3450939

Filing date: May 9, 1967
Patent date: June 17, 1969
Title: Solid State Control Switch with Instant On Characteristic and Low Wattage Components
Inventor: John J. Misencik
Assignee: Westinghouse Electric Corp.
Claims: Solid state photocontrol with on-delay issues eliminated.

Patent No. 3479701

Filing date: August 16, 1967
Patent date: November 25, 1969
Title: Latch Device
Inventor: Robert W. Zerfoss
Assignee: General Electric Co.
Claims: Improved NEMA style latch.

Patent No. 3530287

Filing date: March 6, 1968
Patent date: September 22, 1970
Title: Streetlighting Luminaire Containing Replacable Sealed Optical System
Inventor: Donald E. Husby
Assignee: Westinghouse Electric Co.
Claims: Cobrahead luminaire having a sealed beam lamp-reflector-refractor optical unit.

Patent No. 3562510

Filing date: June 20, 1968
Patent date: February 9, 1971
Title: Luminaire
Inventor: Samuel L. Baldwin
Assignee: General Electric Co.
Claims: Modern mast luminaire with interchangeable heads.

Patent No. 3560731

Filing date: June 27, 1968
Patent date: February 2, 1971
Title: Luminaire Housing
Inventor: James R. Burton
Assignee: McGraw-Edison Co.
Claims: Colonial style mercury vapor luminaire.

Patent No. 3581082

Filing date: August 9, 1968
Patent date: May 25, 1971
Title: Street Lighting Luminaire Refractor
Inventor: Jan Shadwick
Assignee: Holophane Co.
Claims: Improved refractor for clamshell type luminaires.

Patent No. 3524051

Filing date: August 19, 1968
Patent date: August 11, 1970
Title: Luminaire
Inventor: Samuel L. Baldwin and David L. Wood
Assignee: General Electric Co.
Claims: Box type luminaire.

Patent No. 3661685

Filing date: October 28, 1968
Patent date: May 9, 1972
Title: Laminated Assembly of Polycarbonate and Polyacrilate Resin Sheets and Method of Making the Same
Inventor: Mitchell M. Osteen
Assignee: General Electric Co.
Claims: Laminated polycarbonate cobrahead luminaire.

Patent No. 3544785

Filing date: September 10, 1968
Patent date: December 1, 1970
Title: Luminaire
Inventor: William A. Weibel
Assignee: Joslyn Manufacturing and Supply Co.
Claims: Vertical post fluorescent luminaire.

Patent No. 3590238

Filing date: November 18, 1968
Patent date: June 29, 1971
Title: Street-Lighting Luminaire
Inventor: John B. Arens
Assignee: Westinghouse Electric Corp.
Claims: Adjustable HID lamp socket.

Patent No. 3619603

Filing date: May 7, 1969
Patent date: November 9, 1971
Title: Street-Lighting Luminaire
Inventor: Herbert A. Odle
Assignee: Holophane Co.
Claims: Improved rail mount luminaire.

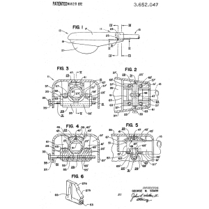
Patent No. 3652047

Filing date: August 18, 1969
Patent date: March 28, 1972
Title: Luminaire Attaching Means
Inventor: George N. Starr
Assignee: American Electric Manufacturing Corp.
Claims: Improved slip fitter design.

Patent No. 3679889

Filing date: November 18, 1969
Patent date: July 25, 1972
Title: Bi-Directrional Highway Luminaire
Inventor: Kurt Franck
Assignee: Holophane Co.
Claims: Luminaire system that directs more light in the direction of vehicular travel.

Continue to 1970-1974

Go to Patents Index Page


Please note: This index is a work in progress. If you notice an error or are aware of something that is missing, please feel free to Email me.

Thanks!


Return to Street Lights Page

Return to Traffic Signals Page