Street Light Technical Information
Willis Lamm

  STREET LIGHTS:
Patents from 1958 through 1959

Patents are an effective way to understand the development of street lighting in the United States. In this section I have posted patents as I located them. (Early patents are difficult to locate as they were not cross-indexed.)

All patents are listed in order of their filing dates. Click on the patent number or thumbnail to view the entire patent.


The end of the 1950s showed additional interest in mercury vapor luminaires and improvements in photelectric controls.

Patent No. 3062952

Filing date: January 6, 1958
Patent date: November 6, 1962
Title: Junction Box and Support Means for Luminaires
Inventor: Donald W. Harling
Assignee: McGraw-Edison Co.
Claims: Mounting system for multiple fluorescent luminaires.

Patent No. 3249750

Filing date: February 4, 1958
Patent date: May 3, 1966
Title: Street Lighting Luminaire
Inventor: Kurt Franck
Assignee: Holophane Co.
Claims: Improved prismatic refractor designs.

Patent No. 2933596

Filing date: February 28, 1958
Patent date: April 19, 1960
Title: Luminaires Provided with Cooling Systems
Inventor: Joseph A. Tolbert
Assignee: General Electric Co.
Claims: Fan cooling system for fluorescent luminaires.

Patent No. 2900520

Filing date: March 24, 1958
Patent date: April 18, 1959
Title: Light Sensitive Control Means
Inventor: Karl F. Frank
Assignee: Micro Balancing, Inc.
Claims: Compact photocontrol.

Patent No. 3018081

Filing date: March 27, 1958
Patent date: January 23, 1962
Title: Mounting for Luminaires
Inventor: Walter M. Waldbauer
Assignee: Westinghouse Electric Corp.
Claims: Improved slip fitter for mercury vapor lamps.

Patent No. 3284626

Filing date: April 9, 1958
Patent date: November 8, 1966
Title: Luminaire
Inventor: Kurt Franck
Assignee: Holophane Co.
Claims: Improved reflector for cobrahead luminaires.

Patent No. 3027450

Filing date: May 2, 1958
Patent date: March 27, 1962
Title: Incansdescent Lamp Protector for Street Lights
Inventor: George W. Everest
Claims: Aluminum mounting disc to prevent condensate from damaging sockets and lamp bulbs.

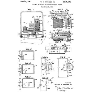
Patent No. 2978591

Filing date: May 5, 1958
Patent date: April 4, 1961
Title: Control Means for a Street Lighting System
Inventor: Walter A. Ringger
Assignee: American Electric Manufacturing Co.
Claims: Improved solid state photocontrol that won't chatter under certain lighting conditions.

Patent No. 2970222

Filing date: May 19, 1958
Patent date: January 31, 1961
Title: Luminaire
Inventor: Donald E. Husby
Assignee: Westinghouse electric Corp.
Claims: Photocontrol mount for mercury vapor luminaire.

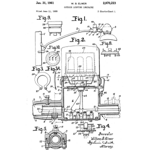
Patent No. 2970223

Filing date: June 11, 1958
Patent date: January 31, 1961
Title: Outdoor Lighting Luminaire
Inventor: William H. Elmer
Assignee: Wheeler Reflector Co.
Claims: Slip fitter photocontrol adapter.

Patent No. 3040994

Filing date: June 15, 1958
Patent date: June 26, 1962
Title: Luminaire
Inventor: Melvin R. Anderson
Assignee: Westinghouse Electric Corp.
Claims: Improved admiral's hat reflector.

Patent No. 2963574

Filing date: November 13, 1958
Patent date: December 6, 1960
Title: Outdoor Lighting Fixture
Inventor: Henry C. Pfaff, Jr.
Assignee: Pfaff and Kindall
Claims: Fluorescent post luminaire.

Patent No. 2905862

Filing date: November 13, 1958
Patent date: September 22, 1969
Title: Illumination Control
Inventor: Phillip Giuffrida
Assignee: Electrioncs Corporation of America
Claims: More reliable photocontrol using a glow discharge trigger tube.

Patent No. 3065338

Filing date: November 13, 1958
Patent date: November 20, 1962
Title: Luminaire
Inventor: Donald E. Husby, Clem W. Eberhart and Edmund L. Izzi
Assignee: Westinghouse Electric Corp.
Claims: Cobrahead with internal ballast and components.

Patent No. 3191022

Filing date: November 21, 1958
Patent date: June 22, 1965
Title: Luminaire
Inventor: Vearl S. Wince
Assignee: Holophane Co.
Claims: Post mounted mercury vapor luminaire.

Patent No. 3154254

Filing date: January 2, 1959
Patent date: October 27, 1964
Title: Street Light Refractor
Inventor: Robert G. McPhail and Kurt Franck
Assignee: Holophane Co.
Claims: Refractor for short bracket arm luminaire.

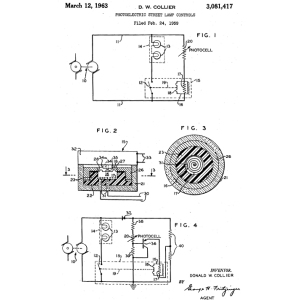
Patent No. 3081417

Filing date: February 24, 1959
Patent date: March 12, 1963
Title: Photoelectric Street Light Controls
Inventor: Donald W. Collier
Assignee: McGraw-Edison Co.
Claims: Photoelectric control using heated vapor to actuate the relay.

Patent No. 3089024

Filing date: March 30, 1959
Patent date: May 7, 1963
Title: Luminaire
Inventor: Herbert A. Odle
Assignee: Holophane Co.
Claims: Improved mercury vapor luminaire refractor bowl.

Patent No. 3102693

Filing date: May 25, 1959
Patent date: September 3, 1963
Title: Luminaire
Inventor: Charles H. Rex
Assignee: General Electric Co.
Claims: Improved mercury vapor luminaire with interchangeable reflectors.

Patent No. 3045783

Filing date: June 18, 1959
Patent date: July 24, 1962
Title: Standard for Traffic Signals, Street Lights and the like
Inventor: George E. Daniels
Assignee: Kerrigan Iron Works Co.
Claims: Multi-position traffic signal or street light standard.

Patent No. 3142501

Filing date: July 28, 1959
Patent date: July 28, 1964
Title: Adjustable Side Mount for a Light
Inventor: Philip B. Clark and Donald W. Harling
Assignee: McGraw-Edison Co.
Claims: Improved slip fitter with luminaire pitch adjustments.

Patent No. 3094286

Filing date: September 25, 1959
Patent date: June 18, 1963
Title: Post Top Mounted Lighting Unit
Inventor: Donald W. Harling
Assignee: McGraw-Edison Co.
Claims: Alumimum canopy post top luminaire.

Patent No. 3072783

Filing date: October 5, 1959
Patent date: January 8, 1963
Title: Luminaire
Inventor: Donald W. Harling
Assignee: McGraw-Edison Co.
Claims: Incandescent bucket luminaire.

Patent No. 3067325

Filing date: December 31, 1959
Patent date: December 4, 1962
Title: Street and Sidewalk Lighting Means
Inventor: James W. Kennedy
Assignee: Kerrigan Iron Works Co.
Claims: Decorative arched lighting system for both streets and sidewalks.

Continue to 1960 - 1962

Go to Patents Index Page


Please note: This index is a work in progress. If you notice an error or are aware of something that is missing, please feel free to Email me.

Thanks!


Return to Street Lights Page

Return to Traffic Signals Page