Street Light Technical Information
Willis Lamm

  STREET LIGHTS:
Patents from 1932 through 1933

Patents are an effective way to understand the development of street lighting in the United States. In this section I have posted patents as I located them. (Early patents are difficult to locate as they were not cross-indexed.)

All patents are listed in order of their filing dates. Click on the patent number or thumbnail to view the entire patent.


Even though the economy was in a rut, inventors still continued to turn out dozens of street lighting improvements.

Patent No. 2007033

Filing date: January 2, 1932
Patent date: July 2, 1935
Title: Lighting Unit
Inventor: Stuart R. Williams
Assignee: Holophane Co.
Claims: Improved deflector shields for street lights.

Patent No. 1984575

Filing date: January 4, 1932
Patent date: July 2, 1935
Title: Electric Light Fixture
Inventor: Louis W. Goetz
Assignee: Wheeler Reflector Co.
Claims: Improved fasteners and component connections to reduce vibration.

Patent No. 1976657

Filing date: January 12, 1932
Patent date: October 9, 1934
Title: Electric Light Fixture
Inventor: Charles M. Cole
Assignee: Wheeler Reflector Co.
Claims: Improved socket bayonet and socket receptacle.

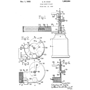
Patent No. 1885684

Filing date: January 13, 1932
Patent date: November 1, 1932
Title: Film Socket Filler
Inventor: Charles M. Cole
Assignee: Wheeler Reflector Co.
Claims: Device to simplify replacement of film cutouts in socket bayonets.

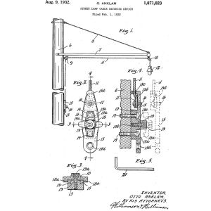
Patent No. 1871023

Filing date: February 1, 1932
Patent date: August 9, 1932
Title: Street Lamp Cable Securing Device
Inventor: Otto Anklam
Claims: Device for securing street lamp lowering cables from tampering.

Patent No. 2016121

Filing date: March 23, 1932
Patent date: October 1, 1935
Title: Lamp Socket
Inventor: William H. Rowe
Assignee: General Electric Co.
Claims: Improved and serviceable bayonet type series lamp socket.

Patent No. 1967702

Filing date: April 1, 1932
Patent date: July 24, 1934
Title: Street Light Unit or Head
Inventor: George W. Brady
Assignee: Brady Electric & Manufacturing Co.
Claims: Street light head with threaded large components to reduce rattling and elements falling from the light.

Patent No. 1949008

Filing date: April 1, 1932
Patent date: February 27, 1934
Title: Receptacle head for Electric Lights
Inventor: Charles M. Cole
Assignee: Wheeler Reflector Co.
Claims: Improved locking of conductors (stronger tie-off eyes.)

Patent No. 1988186

Filing date: April 1, 1932
Patent date: January 15, 1935
Title: Street Light Unit or Head
Inventor: George W. Brady
Assignee: Brady Electric & Manufacturing Co.
Claims: Street light head with threaded large components to reduce rattling and elements falling from the light.

Patent No. 1956754

Filing date: April 9, 1932
Patent date: May 1, 1934
Title: Receptacle head for Electric Lights
Inventor: Charles M. Cole
Assignee: Wheeler Reflector Co.
Claims: Improved wiring terminals.

Patent No. 194855

Filing date: April 22, 1932
Patent date: February 27, 1934
Title: Luminair
Inventor: Russell A. Wood
Claims: Basketweave beading to more evenly diffuse light through a luminaire globe.

Patent No. 1960854

Filing date: April 22, 1932
Patent date: May 29, 1934
Title: Electric Light Fixture
Inventor: George W. Brady
Assignee: Wheeler Reflector Co.
Claims: Improved reflector - refractor assembly that ensures proper positioning.

Patent No. 2014409

Filing date: June 8, 1932
Patent date: September 17, 1935
Title: Film Cut-Out
Inventor: Leon Joaquim Barwood
Assignee: General Electric Co.
Claims: Improved film cutout.

Patent No. 2019346

Filing date: June 8, 1932
Patent date: October 29, 1935
Title: Film Cut-Out
Inventor: Cromwell A. B. Halvorson
Assignee: General Electric Co.
Claims: Side mount slip fitter for ceramic street light body.

Patent No. 1929020

Filing date: July 28, 1932
Patent date: October 3, 1933
Title: Lighting Apparatus
Inventor: Maurice Exelmans
Assignee: Holophane Co.
Claims: Glass reflector and translucent panel street light and sign combination.

Patent No. 1982368

Filing date: August 16, 1932
Patent date: November 27, 1934
Title: Film Remote Control System for Electric Circuits
Inventor: Henry E. Butler
Assignee: General Electric Co.
Claims: Tube relay for remote control lamp circuits.

Patent No. 1915978

Filing date: October 26, 1932
Patent date: June 27, 1933
Title: Film Cut-Out
Inventor: Henry E. Butler
Assignee: General Electric Co.
Claims: Film cutouts in detachable strips.

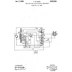
Patent No. 2027239

Filing date: November 12, 1932
Patent date: January 7, 1936
Title: Grid Glow Tube Position Relay Combination
Inventor: Thomas H. Long
Assignee: Westinghouse Electric and Manufacturing Co.
Claims: Photocontrol using a glow tube for the voltage gate.

Patent No. 1967124

Filing date: January 4, 1933
Patent date: July 17, 1934
Title: Supporting Hanger
Inventor: Herbert E. Miller
Assignee: Utilities Service Co.
Claims: Lowering type hanger for luminaires .

Patent No. 1971705

Filing date: March 12, 1933
Patent date: August 28, 1934
Title: Electric Light Fixture
Inventor: Charles M. Cole
Assignee: Wheeler Reflector Co.
Claims: Pendant luminaire with side slip fitter.

Patent No. 2029251

Filing date: March 16, 1933
Patent date: January 28, 1936
Title: Combined Lamp Structure and Hanger
Inventor: Irvin W. Nye and Herbert E. Miller
Assignee: Utilities Service Co.
Claims: Luminaire body with built-in lowering mechanism for servicing.

Patent No. 1996437

Filing date: April 18, 1933
Patent date: April 2, 1935
Title: Electric Light Fixture
Inventor: Kenneth A. Sawin
Assignee: Wheeler Reflector Co.
Claims: Adjustable reflector - refractor assembly.

Patent No. 1989044

Filing date: May 31, 1933
Patent date: January 22, 1935
Title: Means for Connecting Street Light Globes and their Caps
Inventor: Jean L. Le Gorre
Assignee: Pennsylvania Globe Co.
Claims: Twist lock mechanism for fastening caps (canopies) to post mounted globes.

Patent No. 1991467

Filing date: September 22, 1933
Patent date: February 19, 1935
Title: Film Socket Filler
Inventor: Kenneth A. Sawin
Assignee: Wheeler Reflector Co.
Claims: Improved device for replacing socket bayonet film cutouts.

Patent No. 2133377

Filing date: December 9, 1933
Patent date: October 18, 1938
Title: Street Light
Inventor: Phillipp A. Cullman
Assignee: United States Holding Corp.
Claims: Prismatic refractors with light projecting elements.

Continue to 1934 - 1935

Go to Patents Index Page


Please note: This index is a work in progress. If you notice an error or are aware of something that is missing, please feel free to Email me.

Thanks!


Return to Street Lights Page

Return to Traffic Signals Page