Traffic Signal and Street Light Information Sheets
Willis Lamm
12-7-14
  Street Light Information Sheet -
Single Lamp Circuits

Note: This document is a continuation of Understanding Early Street Light Circuits

The development of single lamp circuits - installations that involved power supply, photocontrol and illumination of a single luminaire - was primarily influenced by the development of a practical photoelectric switch, also known as a photocontrol.

Early photocontrols were bulky, expensive and not very reliable. While these devices were contemplated as early as the 1920s, photoconductive and photovoltaic components back in that day were pretty feeble and could not generate or pass very much current. As a result, tubes were required to amplify this current to a sufficient level so as to operate a relay.

Early photocontrols could be affected by cloud cover and could trigger false turn-ons. Some devices would chatter, causing lights to flicker, or be affected by the lights themselves when they turned on. As a result the more reliable photocontrols were large and complex, and expensive.

A snapshot of a few of many patents helps explain the evolution of the photocontrol and the resulting economy in operating single lamp circuits. Finally the cost of the photocontrol became less than the cost to set up series or multiple circuits.

In 1941, American Gas Accumulator Co. approached the photocontrol problem by usng a U-shaped
tube. The tube contained liquid in the middle and two gasses, that expanded at different rates filled the
tips. When the sun hit the tube, the more rapidly expanding gas would cause the tube to rock which in turn
would tip open a mercury switch. Cloudy or cold days had to have caused a problem getting the gas to expand.
In 1948, Arthur Bjontegard at G.E. developed a tube powered photocontrol that
was small enough to be mounted on the top of a luminaire head, designated the Form 110.
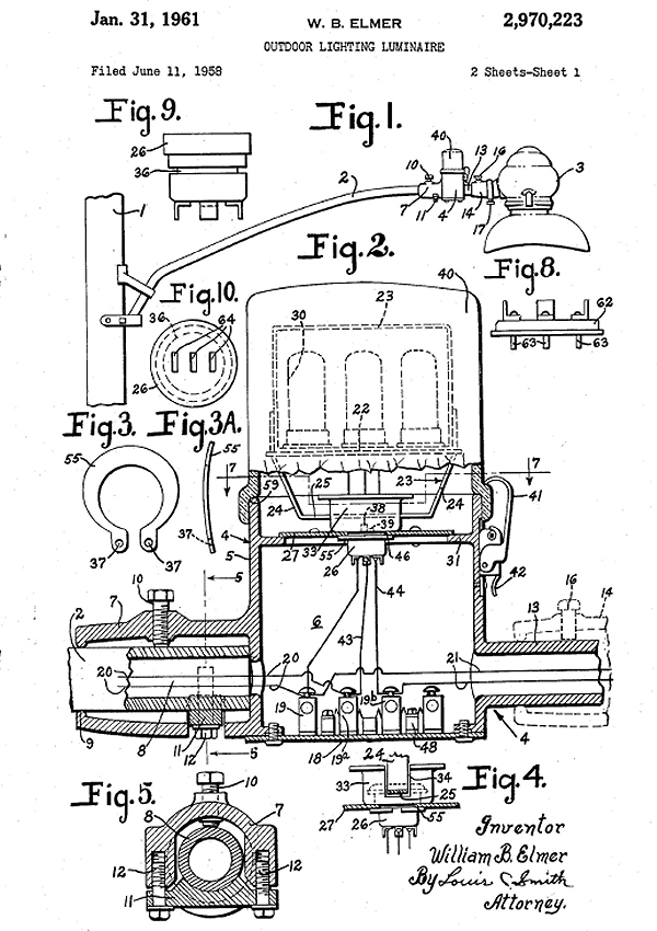
In 1958, Wheeler Reflector addressed the photocontrol modification issue when William
Elmer designed a slip fitter type adapter that fit between the luminaire and bracket arm.
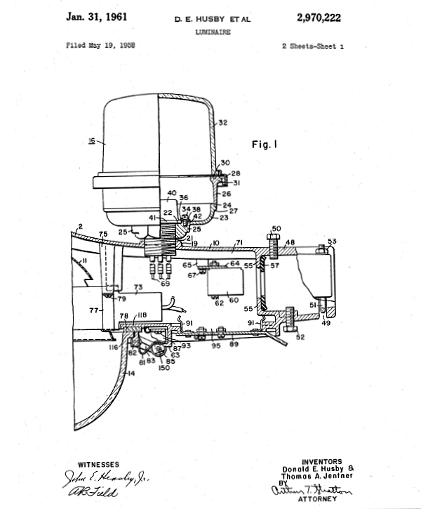
In 1958, Husby and Jetner at Westinghouse developed a modification to their
clamshell luminaire so that it could accomodate a head-mounted photocontrol.
Eventually the industry standardized around a twist-lock configuration whereby
photocontrols could easily be connected, removed and switched out on most luminaires.


Return to Understanding Street Light Systems Page

Return to Street Lights Page

Return to Signals Page