|
This is a somewhat unusual street light that I acquired made by Holophane. Holophane was a large maker of glass refractors since before the turn of the century but the company also manufactured complete luminaires.
(For more detailed information about this light's intrernal design including disassembled views, please see
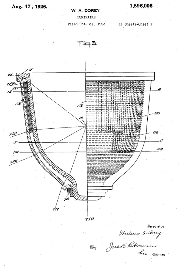
In 1923 William Dorey designed an improvement for the No. 832 "Wide Spread" luminaire. By placing reflective prisms in specific locations instead of completely around the outer refractor, his "Center Line" refractors could throw greater light down the middle of each intersecting street in a 4-way intersection or up and down a street for mid-block installations. This particular light was designed to hang in the center of a 4-way intersection. William Dorey's improvement that provided concentrated beams along roadways.
|
|
The Evolution of the Two-piece Prismatic Refractor System |
| The two-piece refractor system was designed by Otis Mygatt in 1915. As with many designs produced or acquired by Holophane, the basic principles of Mygatt's design are still applied today. While some variations of his system have been added such as altering the density and pattern of the corrugations to project more light toward the street and less toward near side houses for pole mounted lamps, street and ornamental lights using this system can still be purchased today. Holophane offers one with a polished aluminum body and a clear dome to protect the prismatic lens for around $2400.00. Click here for details. |
|
You can view a copy of entire patent 1,236,594 and the claims described in a new window by clicking here.
Holophane was extremely meticulous about obtaining optimum and predictable illumination from its equipment. As lamp bulb designs evolved, the patterns of light given by these lamps changed. Furthermore, one angle of maximum projected illumination may be desirable in one instance while a broader or narrower angle might be more desirable in another location. In 1930 Thomas Rolph patented an improvement on Mygatt's design by including sighting marks, or smooth areas on the refractor with calibrated marks by which the lamp could be accurately adjusted. By making a luminaire body where the socket could adjust up and down, an electrician could adjust the luminaire so that the lamp bulb was optimally positioned to give off the most desired illumination pattern with the least glare.
You can view a copy of entire patent 1,830,484 and the claims described in a new window by clicking here.

Holophane still produces a line of very elegant looking but efficient traditional style "teardrop" and "gumball" luminaires for historic district and "high class" applications. These luminaires can be viewed here.