Willis Lamm's Traffic Signal Collection
(and street lights, too)
Information Sheet

EARLY STREET LIGHT SYSTEMS
Part Two

Film Cutouts

In 1886 Edward Thomson invented a lamp that simplified series street lighting. His lamp contained a built-in film cutout. This new lamp avoided the need for an auto transformer.

The cutout consisted of two pieces of soft metal separated by a thin insulating film. When the lamp's filament failed the current would arc through the film. The film would melt, the metal pieces would fuse together and circuit voltage would be shunted through the cutout. This design allowed street lights to be less bulky however luminaires had to have some kind of a bypass switch or the string would go dark when a lamp was unscrewed for replacement.

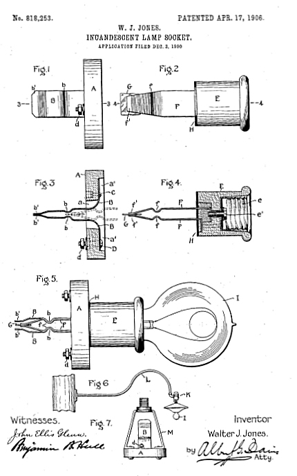
In 1900 Walter Jones invented what was to become the industry standard for series street lights that is still used today. Jones' invention was known as the film-disc cutout or "rupture disc."

Jones actually invented a whole socket system. The luminaire was equipped with a receptacle for a removable lamp socket. The receptacle employed two spring loaded contacts that stayed closed against each other until a socket with two blades was inserted. The contacts and blades were designed to keep the socket from falling out of the luminaire.

Lamps screwed into the the removable socket. A film cutout was clamped between the blades of the socket that kept current from conducting between the two blades while the lamp was functioning, but would melt when the lamp failed and voltage spiked. Thus the circuit remained intact if the socket was removed by allowing current to flow directly across the touching receptacle contacts. With the socket installed a working lamp would light since the film would prevent current from bypassing the lamp. When a lamp failed the film cutout would melt and complete the circuit.

Jones patent was not awarded until 1906 due to challenges that his design infringed upon the Thomson design. Eventually Jones' patent description convinced the court that his design was unique and his design became widely used.

Film disc cutouts are still manufactured and additional discussion about them can be found at FilmCutouts.com.


Continue to Mercury Vapor Lamps

Return to Part One

Return to Street Lights Page